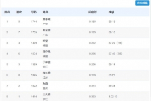
体育资讯11月17日讯 全运会田径女子400米栏决赛,莫家蝶以55秒19的成绩夺得金牌,孔莹蓥获得银牌,欧莹获得铜牌。
女子400米栏决赛成绩详情如下:
1 莫家蝶 55.19
2 孔莹蓥 56.10
3 欧莹 57.29(PB)
4 邹亦凡 57.46(SB)
5 丁依蕊 59.14
6 陆长薇 59.22
7 刘薇 59.34
8 王久香 1:02.16
上一篇: 5金18岁张展硕夺男子1500米自由泳金牌,横扫5枚自由泳金牌
下一篇: 身体第一!18岁张展硕退出男子400米混合泳决赛,决赛4道空缺
比赛中
12-01 06:00
NCAA
圣地亚戈大学
72
:
76
加州州立大学长滩分校
观看比赛:
高清线路
更多
加州大学欧文分校
63
圣何塞州立大学
哥斯乙
ADR吉卡拉
1
卡里阿利
圣卡洛斯国际
0
肯梅利塔
摩拉维亚足球
克波斯坎布特
NCAA内布拉斯加大学vs俄克拉荷马大学直播
nba勇士vs鹈鹕1205
nba vs巴西
拉吉帕察vsVRN芒农特直播
麦克尼斯州立红雀医学院今日赛事
乐球体育
法托VS本杰体育中心直播
塞萨洛尼基年轻人今日赛事